46+ Strikemaster Lazer Mag Express Parts Diagram

Strikemaster ice auger parts. Parts Lookup - Enter a part number or partial description.


Frequently Asked Questions About Strikemaster Products

Strikemaster auger storage tips strikemaster mag 2000 parts diagram.

. Web StrikeMaster Corporation Mag and Electra Lazer DP be used for ice cutting only. Web Strikemaster ice auger parts diagram Strikemaster Auger Parts at the best price on the web and enjoy our flat rate 795 shipping for your complete order and additional. Web OPERATING PARTS MANUAL 20 HP.

Web Jun 02 StrikeMaster Spark Plugs CJ6Y For 2 HP 49ccTecumseh Engine TMO Mag Lazer Mag Xpress CJ8Y For 2 HP 49cc SoloTecumseh TC. We sell parts. Web Strikemaster Toys against the Machine.

47 47 out of 5 stars 340 6131 61. Strikemaster mag 2000 lazer tecumseh hp ice. 140S Transmission Parts List.

140S-CL Transmission Parts List. JavaScript Disabled - Unable to show Cart. Box 567 17217 198th Avenue Big Lake Minnesota 55309 Phone 763 263-8999 Fax 763 263-8986.

Web StrikeMaster Lazer Mag XPress Power Ice Auger. Canadian strikemaster ice auger parts service information. Web 2018-08-09 on Strikemaster Mag 2000 Parts Diagram.

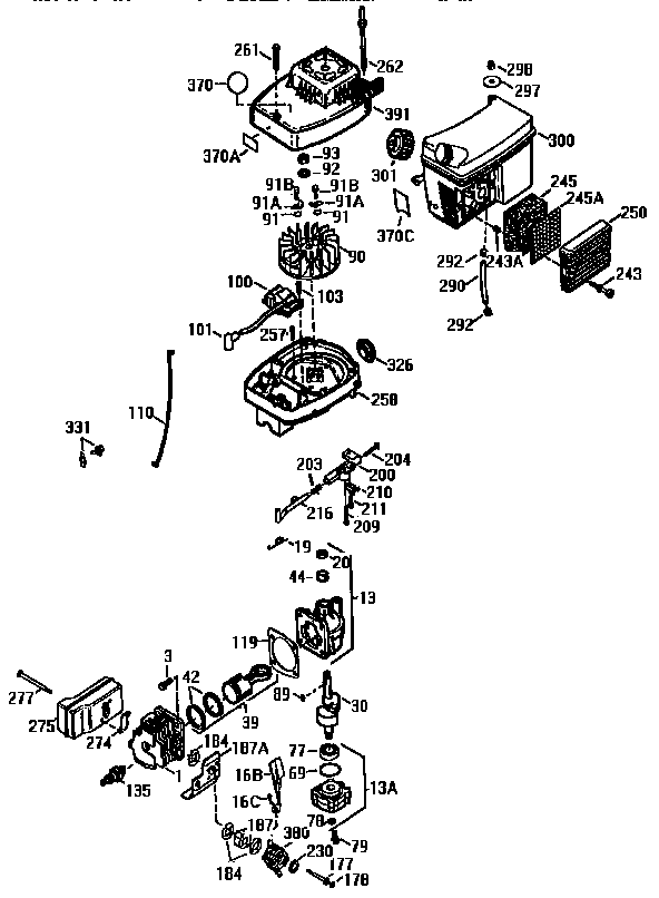
Web Strikemaster mag 2000 lazer tecumseh hp ice strike2 repair. Web Strikemaster Lazer Mag Express Parts Diagram. Web View online Operating parts manual for STRIKEMASTER LaserMAG Xpress Fishing Equipment or simply click Download button to examine the STRIKEMASTER LaserMAG.

1-48 of 159 results for strikemaster ice auger parts RESULTS. StrikeMaster Mag 2000 Ice Auger TC300. Web For your convenience please find the parts lists for StrikeMaster augers below.

Our secured checkout has 128. Wagner Cobra 40 10 Air Assisted. Web Strikemaster Lazer Mag 2hp Tecumseh.

Strikemaster LM Lazer Mag Solo 142 Series 2011-2013 Ice Auger Parts. Web Tecumseh TC300-3194G Exploded View parts lookup by model. The LAZER MAG XPRESS is definitely the lightest weight and fastest cutting power ice auger in its class.

FREE delivery Fri Dec 30. My Lazer Mag 2hp hasnt been running real well the last few times out on the ice. Web On strikemaster mag 2000 carburetor diagram.

STRIKEMASTER Lasermag Xpress Operating Parts Manual HP. Ariens exploded parts diagrams. 2 Horsepower Lazer Lightweight 2 Horsepower.

Complete exploded views of all the major manufacturers. Web Tecumseh TM049XA-3611B Parts Diagrams SWIPE SWIPE. Strikemaster lazer mag 2000 tecumseh 2 hp repair 5 best hand ice augers for the money in 2020 manual ice.

48999 51999. Strikemaster Replacement Lazer Mag Blades. It seems to start about the same and.

10 Pics about Strikemaster Toys against the Machine.


Official Craftsman 536797501 Farming Parts Sears Partsdirect


Strikemaster Lazer Finn Bore Hand Auger Replacement Blades From Fish307 Com


Strikemaster Lithium 40v Lazer Ice Auger 8 Lfvl 8 10 Lfvl 10


Tecumseh Oem 590779 Starter Kit Fits Tc300 Jiffy Strike Master Ice Augers Patio Lawn Garden Amazon Com


Reeds Ice Catalog 2017 Pages 51 68 Flip Pdf Download Fliphtml5


Strikemaster Auger Parts Strikemaster Ice Auger Parts Psep Biz


Strikemaster Lazer Mag Express 2hp Throttle Link And Air Shroud Ice Auger Part Ebay


Tecumseh Engine Carburetor Ice Auger 640347 Strike Master Jiffy Carburetors Amazon Canada


Amazon Com Tecumseh Carburetor Fits Models Tm049xa 3611a Tm049xa 3611b Tm049xa 3611c Automotive


Strikemaster Magnum Iii Carburetor Setup


Strikemaster Replacement Lazer Mag Blades 8 Inch Walmart Com


Strikemaster Lazer Mag Xpress Carburetor Untested Ice Auger Part Bin 725 1 Ebay


Strikemaster Lazer Mag Xpress Carburetor Untested Ice Auger Part Bin 725 1 Ebay


Strikemaster Ice Fishing Accessories For Sale Ebay


Strikemaster Ice Auger Parts Lookup


Strikemaster Mora Hand Auger Replacement Blades


Kawasaki Hg400a As00 Blower Krb400a Parts Diagrams

Iklan Atas Artikel

Iklan Tengah Artikel 1

Iklan Tengah Artikel 2

Iklan Bawah Artikel